VOLVER
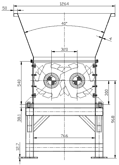
Triturador de dos ejes. Planos de las piezas y montaje.
CABA
Florida





Caba .. Florida $53
Triturador de dos ejes. Planos de las piezas y montaje.
TEL1 45828259
EMAILlibroptica@gmail.com
909 accesos FL11049800
triturador ... pulverizador

Copyright 2013-2022 por Interzonga Communications